15921758826
上海日皮视频免费看软件自动化设备有限公司
联系人:陆先生
联系电话:15921758826
地址:上海市金山区山阳镇卫清东路2312
塑料生物降解测试系统
技术参数:
1、测试反应通道数目至少:3组,1组为3个杯,合计9个杯子,合计9个通道(独立控制,做一次试验至少9个杯子,9个通道);
2、温控范围:室温+5℃~70℃;
3、温控精度:±1℃;
4、湿度监控范围:30%~95%RH;
5、 流量范围:0.01~2L/min;
6、红外二氧化碳监测: 量程0~10000ppm;
7、 电化学氧气监测:量程0~25%Vol;
8、 温度监测:-50~150℃;
9、湿度监测:0~100%RH;
10、 压力监测:量程0~1 KPa;
11、 每个通道流量监测:0.01~10L/min,精度±1%FS;
12、 标准反应器容积:2500毫升(其它体积可选;
13, 试验腔X组(可根据客户要求选择),每一组3个(杯子)检测通道,每组9个杯子,合计9路通道(A,三个杯子装试验材料容器杯子,B,三个装参比材料容器杯子,C,三个空白容器杯子);
14,彩色触摸屏20寸,中英文切换;
15,反应容器体积不小于3L(3个一组,自然状态,供氧堆肥,负压状态);
16,恒温室尺寸3.6mx0.3mx0.45m(实际尺寸不低于此空间);
17,控温范围:室温~70度(冷凝装置);
18,湿度范围:0%RH、30% ~ 100%RH;
19,氧流量范围:0.01 ~ 1L/min(其他范围可定制);
20,红外二氧化碳范围:0 ~ 10000ppm(其他量程可定制);
21电化学氧气范围:0 ~ 25%Vol;
22,压力范围:-0.1 ~ 0.1MPa;
(负100kPa可以被转换为绝对压力,即绝对压力为101.325kPa(标准大气压)减去100kPa,得到1.325kPa。因此,负100kPa相当于在大气压为101.325kPa的情况下,压力低于大气压1.325kPa,即真空度为1.325kPa。)
整机功率:220V


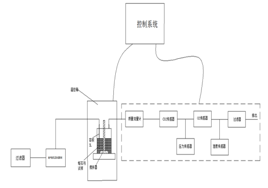
一、塑料生物降解测试系统
用于将材料作为有机化合物在受控的堆肥条件下,通过测定其排放的二氧化碳量来确定其需氧生物分解能力及其崩解程度。试验材料与接种物混合,导入静态堆肥容器,在该容器中,混合物在规定的温度、氧浓度和湿度下进行强烈的需氧堆肥。
仪器用途:
用于将材料作为有机化合物在受控的堆肥条件下,通过测定其排放的二氧化碳量来确定其需氧生物分解能力及其崩解程度。试验材料与接种物混合,导入静态堆肥容器,在该容器中,混合物在规定的温度、氧浓度和湿度下进行强烈的需氧堆肥。
在试验材料的需氧生物分解过程中,二氧化碳、水、矿化无机盐及新的生物质都是生物分解的产物。在试验中连续监测、定期测量试验容器和空白容器产生的二氧化碳,累计产生的二氧化碳量。试验材料在试验中实际产生的二氧化碳量与该材料可以产生的二氧化碳的理论值之比为生物分解百分率。
根据实际测量的总有机碳(TOC)含量可以计算出二氧化碳的理论释放量。生物分解百分率不包括已转化为新的细胞生物质的碳量,因为它在试验周期内不代谢为二氧化碳。
此外,在试验结束时可以确定试验材料的崩解程度,也可以测定试验材料的质量损失。
符合标准:
GB/T19277.1-201 受控堆肥条件下材料需氧生物分解能力的测定 采用测定释放的二氧化碳的方法:通用方法
GB/T19277.2-2013 受控堆肥条件下材料需氧生物分解能力的测定 采用测定释放的二氧化碳的方法:用重量分析法测定实验室条件下二氧化碳的释放量
GB/T19811-2005 在定义堆肥化中试条件下塑料材料崩解程度的测定eqv
GB/T29649-2013 生物基材料中生物基含量测定 液闪计数器法
GB/33797-2017 塑料在高固体份堆肥条件下厌氧生物分解能力的测定,采用分析测定释放生物气体的方法
GB/T22047-2008 土壤中塑料材料需氧生物分解能力的测定 采用测定密闭呼吸计中需氧量或测定释放的二氧化碳的方法
GB/T20197-2006 降解塑料的定义、分类、标识和降解性能要求
GB/T32163.2-2015 生态设计产品评价规范:可降解塑料
GB/T16716.7-2012 包装与包装废弃物:生物降解和堆肥
GB/T38082-2019 生物降解塑料购物袋
GB/T29646-2013 吹塑薄膜用改性聚酯类生物降解塑料
GB/T32366-2015 生物降解聚对苯二甲酸-己二酸丁二酯(PBAT)
GB/T33798-2017 生物聚酯连卷袋
GB/T35795-2017 全生物降解农用地面覆盖薄膜…等
产品特点:
1、连续气流式有氧装置
2、气体传感器实时在线测试塑料样品降解过程中的CO2、O2、H2S、CH4等气体含量
3、测量精度高,可以捕获较小的呼吸率变化
4、气密密封的反应器,小流量体积单位以升表示

5、 质量流量控制器,设置和测量反应器中气体流量
6、气体流量自动化检测,自动加湿,自动检漏
7、自动搅拌装置可设定调整时间周期范围
8、设备具备全自动电子式测量模式,大屏幕触摸屏操作
9、 立式设计,结构紧凑,占用空间小
10、单个的全自动控制系统,实时分析实验数据,实验结果可上传至电脑实现降解全过程跟踪
11、三级权限和数据审计追踪功能,自由存储实验数据
12、可通过手机、网页浏览器远程访问实行跟踪实验过程
配置清单:
1、主机1台
2、空气泵1台
3、空气加湿器1套
4、反应器1套
5、气体传感器1套
6、质量流量计1套
7、温控箱1台
8、安装使用包1盒
9、使用说明书1本
上海日皮视频免费看软件自动化设备有限公司致力于提供材料测试方面的实验室整体解决方案,广泛服务于纤检、质检、商检、科研院所等企事业单位及各类实验室。
日皮视频免费看软件的产品有:鲁尔圆锥接头多功能测试仪、织物摩擦电荷量测试仪、皮肤缝合针弹性韧性测试仪、口罩细菌过滤效率测试仪、静电衰减测试仪、百格十字刮擦测试仪、热阻湿阻测试仪、强力机等三百多款产品涵盖二十多个系列。
公司以行业高素质的技术人才为根本,以的科学技术为依托,同时与国内大院校、科研院所、生产厂家密切合作。日皮视频免费看软件自创办以来直以"科技兴企,创新求实,客户至上,真诚待人,踏实做事!"为经营方针,日皮视频免费看软件直愿做客户好的合作伙伴,给伙伴提供优质的产品,贴心的服务是永远的追求!感谢八方朋友的一路相伴而行,希望有更多的朋友加入日皮视频免费看软件,让日皮视频免费看软件共同发展壮大!
昨天日皮视频免费看软件披荆斩棘,崭露头角,今天日皮视频免费看软件精诚奉献,视企业发展为己任;明天日皮视频免费看软件定会缔造辉煌,与您共创双赢!